Solution
我們相信「資訊透明」是推動智慧能源與永續發展的關鍵。
極致的安全與顯著的成本效益
系統能24小時自動監控並記錄能耗狀況 ,即時發現電力系統的弱點 。一旦發生異常事件,會立即發出警示通知 ,讓您能在災害發生前採取預防措施 ,確保用電安全。


領先業界的即時性與智慧化
符合「深度節能、能源效率提升、再生能源整合」等淨零戰略,協助客戶因應政府法規與永續要求。
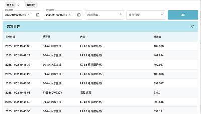
系統能偵測高達 26項 詳細的電氣異常參數 ,從電壓、電流、諧波到三相不平衡等,提供最全面的電力品質分析 。
我們結合AI機器學習演算法,建立電力負載預測模型 ,並提供用電改善建議,讓您的用電決策都有科學數據作為依據 。
高度彈性與未來擴充性
強大EMS可以高度整合其他電力相關系統,如儲能系統、太陽能光電、充電樁、甚至是企業原有的中控系統 。
豐富的客製化彈性:我們的研發團隊是公司的核心 ,能夠針對客戶的特殊需求,對現有功能、各式數位電錶或傳感器進行客製化開發 。
對於已經導入其他品牌EMS的客戶,仍然選擇強大EMS的一大理由就是我們導入簡易快速,且具備低成本高效益的特點 。
化繁為簡,人人都是能源專家
我們用動態與靜態的圖表來取代大量複雜的數據 ,讓管理者可以輕易理解實際的能耗狀況,用電行為一目了然 。

總結來說,強大能管系統最大的優點,就是「想得比您更深、看得比您更遠、用得比
您更簡單」。我們將複雜的電力工程技術,轉化為一套穩定、智慧、且人人都能輕鬆
上手的管理工具,真正賦予企業掌控能源、邁向永續的強大力量。